喷雾干燥塔
旋风分离器
喷雾干燥器
过滤机
带式干燥机
气流干燥
摇摆式制粒机
耙式真空干燥机
单效浓缩蒸发器
喷雾干燥机
流化床制粒机
沸腾干燥
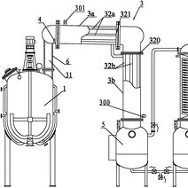
醇沉罐
湿法造粒机
立式叶片过滤机
流化床干燥
减压浓缩
浓缩罐
降膜蒸发器
气流筛分机
离心机
常州市凯工干燥设备有限公司生产喷雾干燥,喷雾干燥塔,喷雾干燥设备,喷雾干燥机,离心喷雾干燥机,喷雾干燥塔是液体工艺成形和干燥工业中广泛应用的工艺。公司备有多种试料样机,欢迎客户带...
无锡市双和干燥设备有限公司,致力于国际领先干燥技术-多级流化床喷雾干燥技术研究,专业制作上排风喷雾干燥塔,已成为食品、医药、化工等行业广泛成功应用的干燥工艺解决方案;国内在乳...
先导干燥专业从事喷雾干燥设备的设计,研发,制造,为广大客户提供各类喷雾干燥,喷雾干燥机,喷雾干燥塔,喷雾干燥设备,离心喷雾干燥机,喷雾干燥器解决方案,咨询热线400-928-6887